Ändra Informationen I Teckenfönstret - Jvc Kd-Dv6102 Manual De Instrucciones

Receptor con dvd/cd
Tabla de contenido
Idiomas disponibles

Idiomas disponibles

2
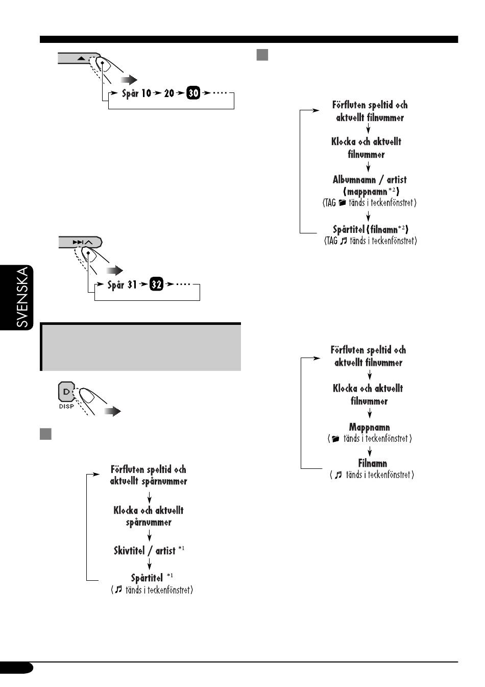
Första gången du trycker på 5 eller ∞
knappen, går du vidare till närmsta spår
bakåt eller framåt som har ett spårnummer i
jämnt tiotal (exempelvis spår nr 10, 20, 30).
Därefter går du fram 10 spår i taget varje du
gång du trycker på knappen.
• Efter det sista spåret väljs det första spåret
och vice versa.
3
Ändra informationen i
teckenfönstret
När du spelar en ljud-CD- eller en
CD-text-skiva
1
*
Om ingen titel har angivits till en ljud-
CD, visas "NO NAME". För att ange
en titel till en ljud-CD-skiva, se sidan
42.
46
När du spelar en MP3-skiva
• När "TAG DISP" är inställd på "TAG
ON" (se sidan 41)
2
*
Om en MP3-fil inte har ID3-etiketter,
visas mapp- och filnamn. I detta
fallet tänds inte TAG-indikatorn.
• När "TAG DISP" är inställd på "TAG
OFF"
Tabla de contenido
loading

Este manual también es adecuado para:

Kd-dv6101

Tabla de contenido