Registrarse
Cargar
Descargar
Tabla de contenido
Contenido
Añadir a mis manuales
Eliminar de mis manuales
Compartir
URL de esta página:
Enlace HTML:
Marcar esta página
Añadir
El manual se agregará automáticamente a "Mis manuales"
Imprimir esta página
×
Marcador agregado
×
Añadido a mis manuales
Manuales
Marcas
Dea Manuales
Abridores de Puertas de Garage
REV
Instrucciones de uso
Dea REV Instrucciones De Uso página 91
Ocultar thumbs
Ver también para REV
:
Manual de instrucciones
(27 páginas)
1
2
3
4
5
6
7
8
9
10
11
12
13
14
15
16
17
18
19
20
21
22
23
24
25
26
27
28
29
30
31
32
33
34
35
36
37
38
39
40
41
42
43
44
45
46
47
48
49
50
51
52
53
54
55
56
57
58
59
60
61
62
63
64
65
66
67
68
69
70
71
72
73
74
75
76
77
78
79
80
81
82
83
84
85
86
87
88
89
90
91
92
93
94
95
96
97
98
99
100
101
102
103
104
105
106
107
108
109
110
111
112
113
114
115
116
117
118
119
120
121
122
123
124
125
126
127
128
129
130
131
132
133
134
135
136
137
138
139
140
141
142
143
144
145
146
147
148
Contenido
149
página
de
149
Ir
/
149
Contenido
Tabla de contenido
Marcadores
Tabla de contenido
Idiomas disponibles
ES
EN
FR
IT
PT
PL
RU
Más
Idiomas disponibles
ESPAÑOL, página 57
ENGLISH, page 21
FRANÇAIS, page 39
ITALIANO, pagina 3
PORTUGUÊS, página 75
POLSKI, strona 93
РУССКИЙ, страница 111
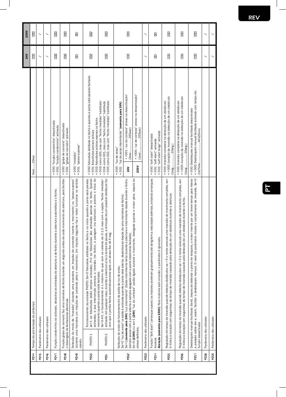
PARÂMETROS DE FUNCIONAMENTO
89
Tabla de
Contenido
Anterior
Página
Siguiente
Página
1
...
88
89
90
91
92
93
94
95
Tabla de contenido
Manuales relacionados para Dea REV
Abridores de Puertas de Garage Dea REV Manual De Instrucciones
(27 páginas)
Abridores de Puertas de Garage Dea REV220 Instrucciones De Uso
(120 páginas)
Abridores de Puertas de Garage Dea TEO 700 Instrucciones De Uso
(69 páginas)
Abridores de Puertas de Garage Dea LIVI 400 Instrucciones De Uso
(34 páginas)
Abridores de Puertas de Garage Dea LIVI/N Instrucciones De Uso
(108 páginas)
Abridores de Puertas de Garage Dea ADVANCE Instrucciones De Uso
(164 páginas)
Abridores de Puertas de Garage Dea LIVI 902 Instrucciones De Uso Y Advertencias
Motorreductores para puertas basculantes con contrapesos (20 páginas)
Abridores de Puertas de Garage Dea SPACE Serie Instrucciones De Uso
(216 páginas)
Abridores de Puertas de Garage Dea LIVI 400 Instrucciones De Uso
(40 páginas)
Abridores de Puertas de Garage Dea LIVI 3/24 Instrucciones De Uso
(184 páginas)
Abridores de Puertas de Garage Dea LIVI Instrucciones De Uso Y Advertencias
(40 páginas)
Abridores de Puertas de Garage Dea TEO 700 Instrucciones De Uso Y Advertencias
(20 páginas)
Abridores de Puertas de Garage Dea LIVI Serie Instrucciones De Uso Y Advertencias
(180 páginas)
Abridores de Puertas de Garage Dea LATO Instrucciones De Uso Y Advertencias
(20 páginas)
Abridores de Puertas de Garage Dea LOOK Instrucciones De Uso
(48 páginas)
Productos relacionados para Dea REV
Dea REV220
Dea REV220/M
Dea REV220/IB
Dea REV220/RF
Dea REV220/RFM
Dea REV220/RF/IB
Dea REV24/F
Dea REV24/M
Dea REV24/IB
Dea ADVANCE
Dea ANGOLO 24/1
Dea ANGOLO 24/1/B
Dea ANGOLO 24/2
Dea ANGOLO 24/2/B
Dea GULLIVER 1500
Dea GULLIVER 1501
Tabla de contenido
Imprimir
Renombrar el marcador
Eliminar marcador?
Eliminar de mis manuales?
Login
Entrar
O
Iniciar sesión con Facebook
Iniciar sesión con Google
Cargar el manual
Cargar desde el disco
Cargar desde la URL