Nice IB Instrucciones Y Advertencias Para El Instalador página 22

Tabla de contenido
Idiomas disponibles
  • ES

Idiomas disponibles

  • ESPAÑOL, página 34
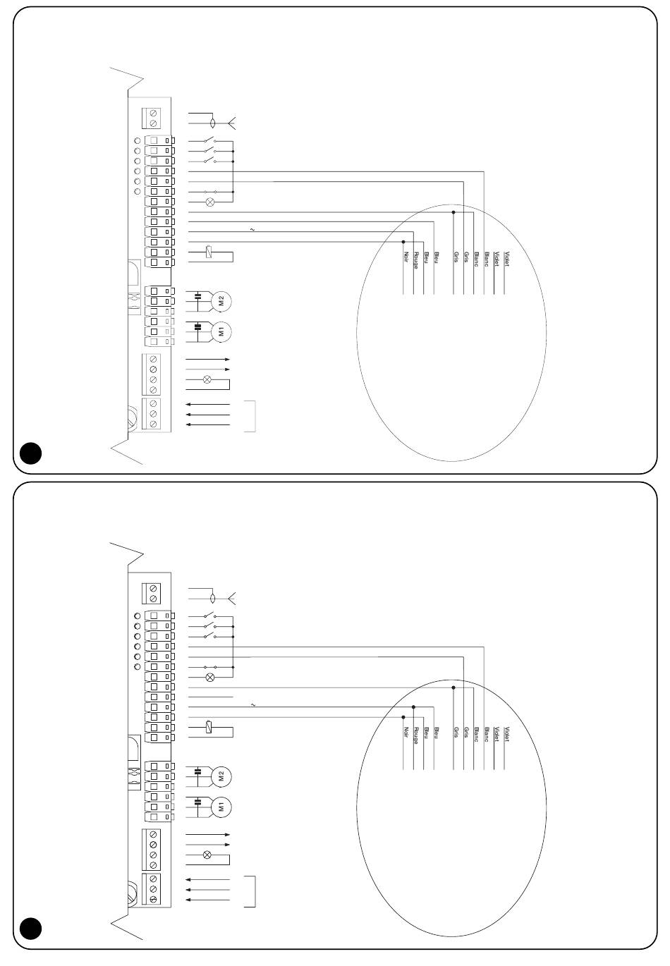
3.3.3) Exemple d'utilisation d'IB avec logique de commande A60 et fototest.
La figure 7 est un exemple de connexion du dispositif IB à une logique de commande A60 avec fototest.
7
3.3.4) Exemple d'utilisation d'IB avec logique de commande A60 sans fototest.
La figure 8 est un exemple de connexion du dispositif IB à une logique de commande A60 sans fototest.
8
22
27
FERME
26
OUVRE
25
P.P.
FOTO1
24
FOTO
23
HALTE
22
21
SCA
COMMUN
20
FOTOTEST
19
24 V
18
200mA
17
16
SERRURE ELÈCTRIQUE
12 Vcc MAX 25 W
15
13
MOTEUR 2 FERME
12
MOTEUR 2 COMMUN
11
MOTEUR 2 OUVRE
10
MOTEUR 1 FERME
9
MOTEUR 1 COMMUN
8
MOTEUR 1 OUVRE
7
ÈCLAIRAGE
AUTOMATIQUE
6
5
CLIGNOTANT
Max 40W
4
3
N
ALIMENTATION
2
GND
F
1
27
FERME
26
OUVRE
25
P.P.
FOTO1
24
FOTO
23
HALTE
22
21
SCA
COMMUN
20
FOTOTEST
19
24 V
18
200mA
17
16
SERRURE ELÈCTRIQUE
12 Vcc MAX 25 W
15
13
MOTEUR 2 FERME
12
MOTEUR 2 COMMUN
11
MOTEUR 2 OUVRE
10
MOTEUR 1 FERME
9
MOTEUR 1 COMMUN
8
MOTEUR 1 OUVRE
7
ÈCLAIRAGE
AUTOMATIQUE
6
5
Clignotant
Max 40W
4
3
N
ALIMENTATION
2
GND
F
1
IB
IB
Tabla de contenido
loading

Tabla de contenido