Alojamiento, Información General; Alojamiento Del Engranaje Cónico - Atlas Copco Pfd1100Ra-Cea010N Instrucciones Del Producto

Tabla de contenido
Servicio
Alojamiento, información general
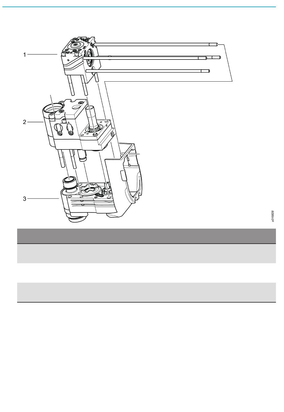
Pos
1
2
3
Alojamiento del engranaje cónico
Cantidad total de lubricación: aproximadamente 9 ml.
44
ES
© Atlas Copco Industrial Technique AB - 9836 9952 05
Descripción
Alojamiento de engranaje cónico. Para obtener más
información sobre lubricación, consulte el alojamiento
del engranaje cónico
Parte superior del alojamiento. Para obtener más
información sobre lubricación, consulte parte superior
del alojamiento
Parte inferior del alojamiento. Para obtener más
información sobre lubricación, consulte parte inferior
del alojamiento
PFD1100RA-CEA010N
Tabla de contenido
loading

Este manual también es adecuado para:

8440110123

Tabla de contenido