Refund Entries; Non-Add Code Number Entries And Printing - Sharp Xe-A213 Manual De Instrucciones

Tabla de contenido
Idiomas disponibles
  • ES

Idiomas disponibles

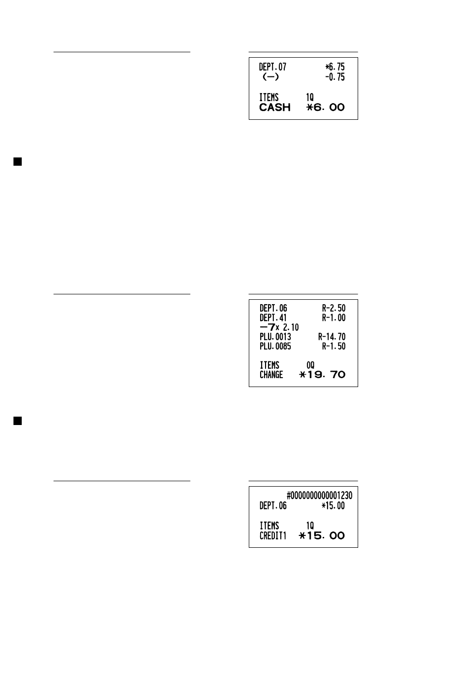
Deduction for item entries
Key operation example
(When a deduction amount of
0.75 is programmed.)

Refund entries

For departments 1 to 6, enter the refund amount and press the
department key (when using the preset price, omit entering the amount), and for a departments 7 to 99, enter
the department code and press the
necessary.
For a refund of a PLU item, press the
f
press the
key, then press the
For a refund of a subdepartment item, enter the refund amount and press the
corresponding direct PLU key, or enter the PLU code and press the
amount and press the
Key operation example
85

Non-add code number entries and printing

You can enter a non-add code number such as a customer's code number and credit card number, a maximum
of 16 digits, at any point during the entry of a sale. The cash register will print it at once.
To enter a non-add code number, enter the number and press the
Key operation example
44
d
d
7
675
-
A
f
d
and
f
key and the corresponding direct PLU key, or enter the PLU code and
p
key.
p
key.
f (
250
f d
d
41
100
@
7
f ‹
f p
p
150
A
N
1230
(
1500
c
Receipt print
f
key, and then press the corresponding
keys, then enter the refund amount and press the
f
Receipt print
N
key.
Receipt print
f
key, then press the
p
and
keys, then enter the refund
d
key if

Hide quick links:

Tabla de contenido
loading

Tabla de contenido