Hauptanwendungen; Empfänger Des Ultraschall-Leckdetektors Uld-400-Re Verwenden - Beha-Amprobe Uld-400-Eur Manual De Usario

Ocultar thumbs Ver también para ULD-400-EUR:
Tabla de contenido
Idiomas disponibles
  • ES

Idiomas disponibles

  • ESPAÑOL, página 68

4. HAUPTANWENDUNGEN

4.1 Empfänger des Ultraschall-Leckdetektors ULD-400-RE verwenden
1. Schalten Sie den Empfänger ein und schließen Sie den Kopfhörer an den Anschluss an
der Vorderseite des Empfängers an. Jedes Kopfhörerset mit 3,5mm Klinkenanschluss
ist kompatibel.
2. Drücken Sie vor der Annäherung an den Zielbereich zum Anpassen der Empfindlichkeit
der Signalstärke auf den höchstmöglichen Pegel die Empfindlichkeitstasten + oder -. Das
Balkendiagramm zeigt dabei weiterhin entweder 0 oder einen Wert nahe 0. Drücken
Sie die Filter-Taste, falls die Signalstärke nicht verringert werden kann und die LCD
unabhängig von den Empfindlichkeitseinstellungen weiterhin einen Maximalwert zeigt.*
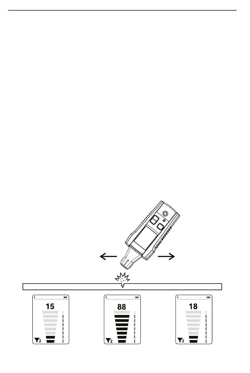
3. Scannen Sie den Zielbereich mit dem Mikrofonsensor.
4. Wenn Sie sich der Quelle des Lecks, der Vibration oder der elektrischen Entladung
nähern, erhöht sich die Signalstärke. Dies wird durch einen zunehmenden
Signalstärkewert und Pegel des Balkendiagramms am Bildschirm angezeigt.
5. Das Balkendiagramm ist nur eine relative Messung. Verringern Sie die
Empfindlichkeit daher bei Erreichen der maximalen Signalstärke durch Drücken der
Empfindlichkeitstaste -, bis eine Signalstärke von unter 75 angezeigt wird. Wiederholen
Sie diesen Vorgang, bis Sie die Quelle des Ultraschalls isoliert haben.
6. Das über den Kopfhörer ausgegebene Geräusch hilft Ihnen bei der Verifizierung der
Quelle des Lecks, bspw. deutet ein Zischen auf ein Luftleck hin, während ein Ticken eine
elektrische Entladung anzeigt. Der Empfängerbildschirm allein bietet keine Anzeige
der Leckquelle.
Hinweis:
• In Umgebungen mit vielen Hintergrundgeräuschen können Sie den Ultraschall mit dem
Schalltrichter (PB-1) direkt auf den Sensor richten.
• In Umgebungen, in denen Sie den Empfänger nicht direkt auf das Leck richten können,
empfiehlt sich der Einsatz des Richtrohrs (TE-1 mit Richtrohradapter TEA-1).
Abbildung 4.1a: Mit dem Empfänger ein Leck finden
8
Tabla de contenido
loading

Este manual también es adecuado para:

Uld-410-eurUld-420-eur

Tabla de contenido