Set Up & Use; Window Requirements; Suggested Tools For Installation - Black And Decker Bd06Wt6 Manual Del Usuario

Ocultar thumbs Ver también para BD06WT6:
Tabla de contenido
Idiomas disponibles

Idiomas disponibles

SET UP & USE
NOTE: All the illustrations in this manual are for explanation purpose only. The air
conditioner you have may be slightly different.

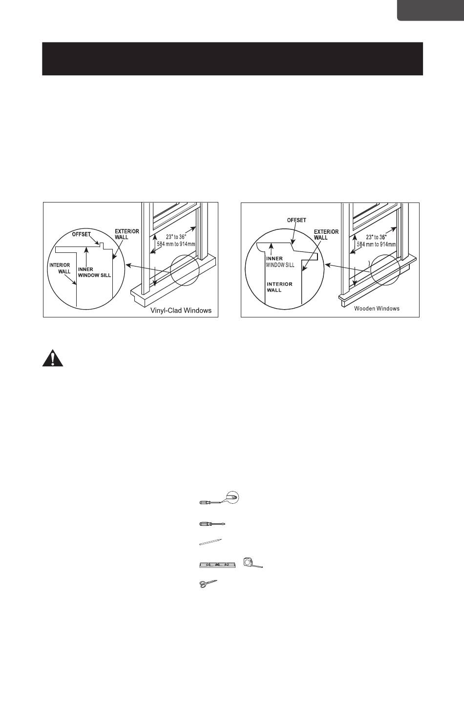
WINDOW REQUIREMENTS:

Your air conditioner is designed to install in standard double hung windows
with opening widths of 23 to 36 inches (584mm to 914mm).
BD06WT6:14"(330mm) BD08WT6 BD10WT6 BD12WT6 BD145WT6: 15 1/2"(394mm)
WARNING
• Do not, under any circumstances, cut or remove the third (ground) prong from the
power cord.
• Do not change the plug on the power cord of the air conditioner.
• Aluminum house wiring may present special problems-consult a qualified electrician.
• When handing unit, be careful to avoid cuts from sharp metal edges and
aluminum fins on front and rear coils.

SUGGESTED TOOLS FOR INSTALLATION

• Screwdriver (Phillip & Flat)
• Level
• Pencil
• Ruler or tape measure
• Scissors or knife
NOTE: Save Carton and Installation Instructions for future reference. The carton is the
best way to store unit during winter or when not in use.
H
H
(Not included)
ENGLISH
Page 9
Tabla de contenido
loading

Este manual también es adecuado para:

Bd08wt6Bd10wt6Bd12wt6Bd145wt6

Tabla de contenido