Conexión Del Tubo De Gas De Protección - Ewm Taurus 351 Basic Fdg Manual De Instrucciones

Ocultar thumbs Ver también para Taurus 351 Basic FDG:
Tabla de contenido
Estructura y función
Transporte e instalación
5.1.9.2
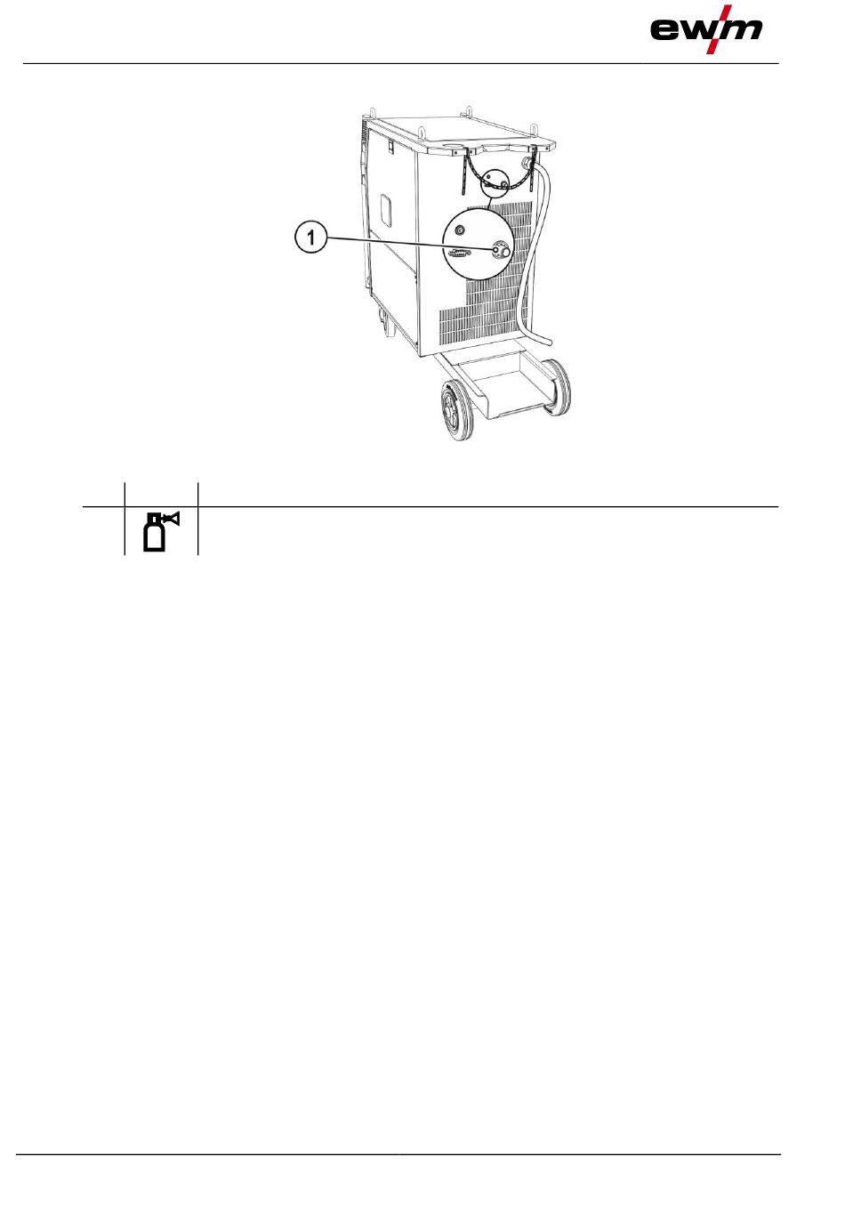
Conexión del tubo de gas de protección
Pos
Símbolo Descripción
1
Añadir tuercas de racor del conducto de protección de gas en el casquillo roscado de empalme G¼".
30
0
Toma de conexión G 1/4 , conexión gas de protección
Figura 5-9
099-005149-EW504
11.08.2016
Tabla de contenido
loading

Este manual también es adecuado para:

Taurus 401 basic fdgTaurus 451 basic fdgTaurus 551 basic fdgTaurus 351 basic fdwTaurus 401 basic fdwTaurus 451 basic fdw ... Mostrar todo

Tabla de contenido