Modelo B115 (Versión Centre Pivot) Equipo Retroexcavador - Dimensionesy Prestaciones - New Holland B110 Manual De Empleo

Tabla de contenido
SECCION 12 - DATOS TÉCNICOS
MODELO B115 (Versión Centre pivot) EQUIPO RETROEXCAVADOR - DIMENSIONES
Y PRESTACIONES
8
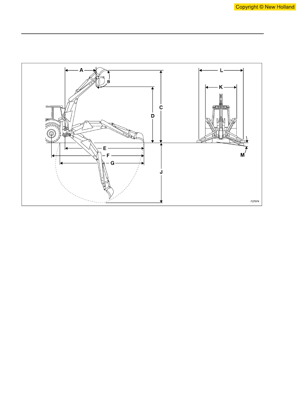
Dimensiones
A. Alcance máximo en altura
B. Rotación de la cuchara
C. Altura de funcionamiento, totalmente levantada
D. Altura máxima en carga
E. Alcance a partir del eje del pivote de orientación
F. Alcance con respecto al eje del puente trasero
G. Longitud máximo de la superficie de excavación
J. Profundidad máxima de excavación
K. Espaciamiento de los estabilizadores - Durante el transporte
L. Espaciamiento de los estabilizadores - En funcionamiento
M. Angulo de puesta a nivel de los patines de los estabilizadores
12-20

Hide quick links:

Tabla de contenido
loading

Productos relacionados para New Holland B110

Este manual también es adecuado para:

B115

Tabla de contenido