Registros; Registros De Artículos; Registros De Un Solo Artículo; Registros Repetidos - Sharp Er-A220 Manual De Instrucciones

Ocultar thumbs Ver también para ER-A220:
Tabla de contenido

REGISTROS

Registros de artículos
1
Registros de un solo artículo
Registros de sección
Registre un precio unitario y pulse una tecla de sección. Si utiliza un precio unitario programado, pulse sólo una
tecla de sección.
Cuando utilice un precio unitario programado
Precio unitario*
(máx. 7 dígitos)
Registros de PLU
Registre un código de PLU y pulse la tecla
Código de PLU
Registros de subsección (PLU abierta)
Precio unitario*
(máx. 7 dígitos)
Cuando las secciones y las PLU para las que se ha programado el precio unitario de 0 (cero) se
registran, se añade solamente la cantidad de ventas.
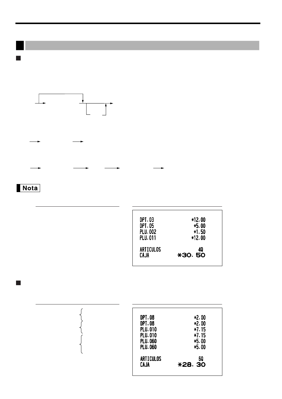
Ejemplo de operación de teclas

Registros repetidos

Puede utilizar esta función para registrar una venta de dos o más artículos iguales.
Ejemplo de operación de teclas
Registro repetido
de sección
Registro repetido
de PLU
Registro repetido
de subsección
42
Downloaded from:
http://www.usersmanualguide.com/
1
Tecla de sección
2
*
Ó
Ö
.
Ö
å
Código de PLU
ú
1200
û
Ö
2
å
Ö
1200
11
É
ô
200
ô
Ö
10
Ö
å
500
Ö
60
Ö
É
1
*
Menos de los importes límites superiores
programados
2
*
Para las secciones opcionales 16 a 30, pulse
la tecla de cambio de sección en este punto.
*Menos de los importes límites
Ö
superiores programados
Impresión
Impresión
Tabla de contenido
loading

Tabla de contenido