Figura A-1: Funcionamiento De Sólo Alarma Sin 8 Puntos - Notifier Ldm Serie Manual De Instrucciones

Módulos de control de lámparas
Tabla de contenido
Figura A-1: Funcionamiento de Sólo Alarma
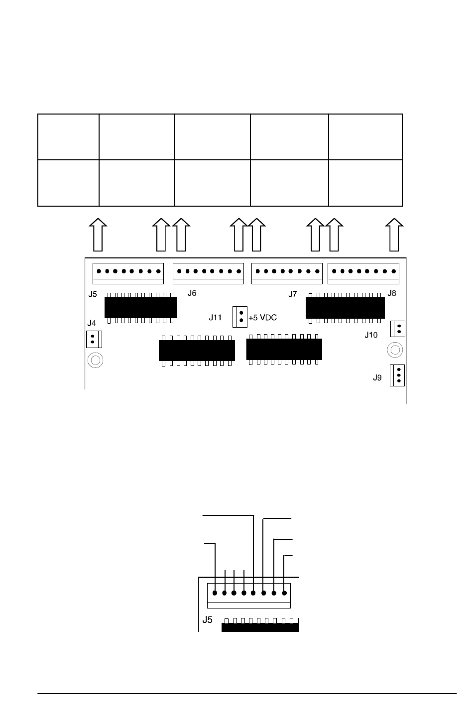
La siguiente figura ilustra la configuración del LDM para señalizar hasta 120 zonas de
alarmas (no zonas en avería) con los primeros puntos del anunciador (P1 a P8) dedicados
a las funciones del Sistema 5000. (Las teclas de control no funcionan en la configuración
de alarma).
Dirección 1
LDM-32
Funciones Sistema*
LDM-E32
25
Dirección 2
1
LDM-32
57
LDM-E32
89
Circuito Señalización 1 ON
(Led verde)
Alarma del Sistema
(Led rojo)
1
Asume este módulo expansor de puntos anunciadores (circuitos) 65-128 y no funciona como
anunciador "Sólo lectura".
MN-DT-420
sin 8 puntos de la CPU
1
-
-
32
33 -
-
64
65 -
-
96
97 -
Salidas
vista del LDM-32
* Indicación del Estado del Sistema
NOTIFIER ESPAÑA, S.A.
8
9
- 16
40
41
- 48
72
73
- 80
104
105
- 112
Alimentación
bombillas
Circuito Señalización 2 ON (Led verde)
Caja Municipal ON (LED rojo)
Relé de Alarma ON (LED rojo)
no
utilizado
17 - 24
49 - 56
81 - 88
113 - 120
cables
al LEDs
3 2
Tabla de contenido
loading

Este manual también es adecuado para:

Ldm-32Ldm-e32

Tabla de contenido